Sep . 22, 2025 09:49 Back to list

High Performance Butterfly Valve Advanced Engineering for Industrial Applications

The High Performance Butterfly Valve is a critical component in modern industrial systems, designed to deliver exceptional reliability, precision, and durability in demanding environments. Manufactured to meet stringent international standards, this valve is engineered for applications ranging from water treatment to petrochemical processing. This article provides an in-depth analysis of its features, technical specifications, and applications, supported by authoritative references and industry insights.

 

High Performance Butterfly Valve Advanced Engineering for Industrial Applications

 

Product Overview

 

The High Performance Butterfly Valve is a robust and versatile solution for controlling fluid flow in pipelines. Its design incorporates advanced engineering principles to ensure optimal performance, minimal maintenance, and long service life. The valve is manufactured by Hebei Honest Industrial Group Co., Ltd., a leading provider of industrial valves with a reputation for quality and innovation.

 

Key Features and Advantages

 

The High Performance Butterfly Valve is distinguished by its advanced design and high-quality materials, which contribute to its superior performance. Key features include:

  • Compliance with International Standards:The valve adheres to standards such as API 609, MSS SP-68, EN 1092-2, BS 4504, ISO 5211, and API 598, ensuring compatibility and reliability in global applications.
  • Robust Construction:Built with materials like WCB and CF8M for the body, disc, and cover, along with stainless steel 316 for the seat and stem, the valve offers exceptional resistance to corrosion and wear.
  • Wide Size Range:Available in sizes up to 16 inches, making it suitable for both small and large-scale industrial systems.
  • Efficient Flow Control:The butterfly design allows for quick shut-off and precise flow regulation, minimizing pressure drops and energy consumption.
  • Easy Maintenance:The valve’s modular design facilitates straightforward inspection and replacement of components, reducing downtime and maintenance costs.
  •  

Technical Specifications

 

The High Performance Butterfly Valve is engineered to meet the exacting demands of industrial applications. Below is a detailed specification table:

 

Component

Material

Body

WCB / CF8M

Disc

WCB / CF8M

Seat

S.S. 316

Cover

WCB / CF8M

Stem

S.S. 316

Stuff Cover

WCB / CF8M

Yoke

WCB / CF8M

End Cover

WCB / CF8M

 

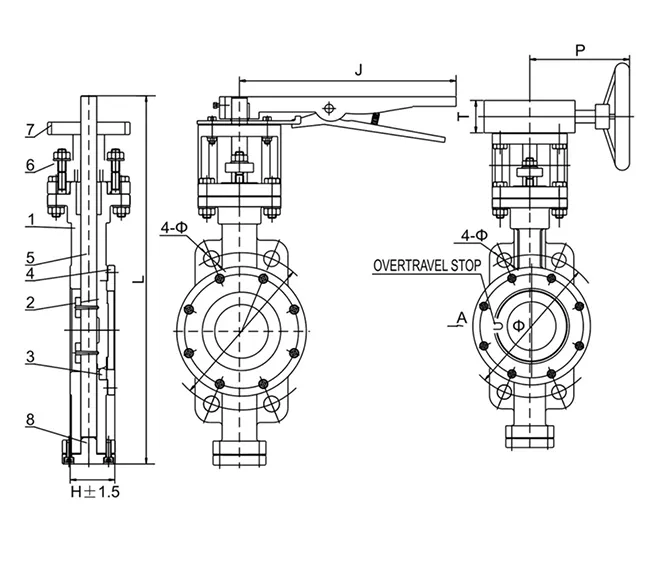
Dimensions Table

 

The valve’s dimensions are designed to ensure compatibility with standard piping systems. Below is a detailed breakdown of the dimensions for various sizes:

 

DN

H

L

DIN PN 16 (Φ, 4-Φ)

CL150 (Φ, 4-Φ)

P

T

J

50

43

300

125, 18

120.5, 19

178

62

265

65

46

318

145, 18

139.5, 19

178

62

265

80

49

350

160, 18

152.5, 19

178

62

265

100

56

452

180, 18

190.5, 19

178

62

265

125

64

479

210, 18

216, 22

235

78

265

150

70

512

240, 23

241.5, 22

235

78

365

200

71

636

295, 23

298.5, 22

235

78

365

250

76

731

355, 27

362, 25

235

78

365

300

83

797

410, 27

432, 25

226

80

365

 

Applications and Industry Use Cases

 

The High Performance Butterfly Valve is widely used across various industries due to its versatility and reliability. Key applications include:

  • Water and Wastewater Treatment:The valve is ideal for controlling flow in municipal water systems, sewage treatment plants, and desalination facilities.
  • Petrochemical and Refinery Operations:Its ability to handle high-pressure and high-temperature environments makes it suitable for oil and gas processing.
  • Power Generation:The valve is used in cooling water systems, steam pipelines, and other critical applications in power plants.
  • Industrial Manufacturing:It is employed in HVAC systems, chemical processing, and other industrial processes requiring precise flow control.
  •  

Company Background: Hebei Honest Industrial Group Co., Ltd.

 

Hebei Honest Industrial Group Co., Ltd. is a leading manufacturer and supplier of industrial valves, specializing in high-performance solutions for global markets. With a commitment to quality and innovation, the company adheres to international standards and continuously invests in research and development to meet evolving industry needs. Their product portfolio includes a wide range of valves, fittings, and related components, catering to diverse industrial applications.

 

Standards and Certifications

 

The High Performance Butterfly Valve is designed to comply with the following standards:

  • API 609:This standard specifies requirements for butterfly valves, ensuring their performance and safety in industrial applications.
  • MSS SP-68:A standard for the design and manufacture of butterfly valves, focusing on dimensional and performance criteria.
  • EN 1092-2 / BS 4504:These standards define flange dimensions for pipe connections, ensuring compatibility with global piping systems.
  • ISO 5211:Specifies top flange dimensions for actuators, enabling seamless integration with automation systems.
  • API 598:Governs the testing and inspection of valves to ensure their quality and reliability.
  •  

Industry Relevance and NIST Reference

 

The High Performance Butterfly Valve aligns with the standards and practices recommended by the National Institute of Standards and Technology (NIST), which plays a critical role in developing and promoting measurement standards for industrial applications. NIST’s work in defining measurement protocols and quality benchmarks ensures that products like this valve meet the highest levels of precision and reliability. For example, NIST’s Industrial Automation Standards emphasize the importance of standardized testing and performance metrics, which are integral to the design of this valve.

 

Conclusion

 

The High Performance Butterfly Valve represents a significant advancement in industrial valve technology, offering a combination of durability, efficiency, and compliance with global standards. Its robust construction, precise engineering, and wide range of applications make it an essential component in modern industrial systems. By adhering to the rigorous standards set by organizations like NIST and API, Hebei Honest Industrial Group Co., Ltd. ensures that their products meet the demands of today’s industries while paving the way for future innovations.



Share

If you are interested in our products, you can choose to leave your information here, and we will be in touch with you shortly.


en_USEnglish