Discover the cutting-edge design and technical superiority of the High Performance Butterfly Valve, engineered to meet the most demanding industrial applications.

The High Performance Butterfly Valve represents a pinnacle of modern fluid control technology. Designed for precision, durability, and efficiency, this valve is engineered to meet the stringent requirements of industrial systems across various sectors. Manufactured by Hebei Honest Industrial Group Co., Ltd., the valve combines advanced materials, rigorous testing standards, and innovative design principles to deliver unmatched performance in high-pressure and high-temperature environments.
With its robust construction and compliance with international standards, the High Performance Butterfly Valve is a reliable solution for industries such as oil and gas, chemical processing, power generation, and water treatment. This article explores the valve's technical specifications, advantages, and applications, providing a comprehensive overview of its capabilities.
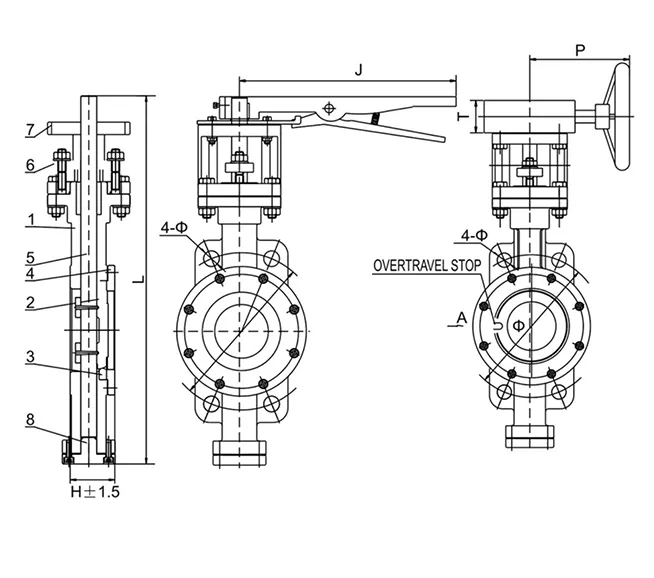
The High Performance Butterfly Valve is designed to meet the highest standards of performance and reliability. Below is a detailed breakdown of its technical specifications:
|
Component |
Material |
|
Body |
WCB / CF8M |
|
Disc |
WCB / CF8M |
|
Seat |
S.S. 316 |
|
Cover |
WCB / CF8M |
|
Stem |
S.S. 316 |
|
Stuff Cover |
WCB / CF8M |
|
Yoke |
WCB / CF8M |
|
End Cover |
WCB / CF8M |
|
DN |
H |
L |
DIN PN 16 |
CL150 |
P |
T |
J |
|
50 |
43 |
300 |
125 |
120.5 |
178 |
62 |
265 |
|
65 |
46 |
318 |
145 |
139.5 |
178 |
62 |
265 |
|
80 |
49 |
350 |
160 |
152.5 |
178 |
62 |
265 |
|
100 |
56 |
452 |
180 |
190.5 |
178 |
62 |
265 |
|
125 |
64 |
479 |
210 |
216 |
235 |
78 |
265 |
|
150 |
70 |
512 |
240 |
241.5 |
235 |
78 |
365 |
|
200 |
71 |
636 |
295 |
298.5 |
235 |
78 |
365 |
|
250 |
76 |
731 |
355 |
362 |
235 |
78 |
365 |
|
300 |
83 |
797 |
410 |
432 |
226 |
80 |
365 |
The High Performance Butterfly Valve offers a range of benefits that make it an ideal choice for industrial applications:
Constructed from high-quality materials such as WCB (Wrought Carbon Steel) and CF8M (Austenitic Stainless Steel), the valve is designed to withstand harsh environments. The use of S.S. 316 for the seat and stem further enhances its resistance to corrosion and wear, ensuring long-term performance in aggressive media.
Compliant with API 609 and ISO 5211 standards, the valve features precise manufacturing processes that guarantee tight sealing and minimal leakage. Its face-to-face dimensions are optimized to ensure compatibility with existing piping systems, reducing installation complexity and maintenance requirements.
The valve's design allows it to be used in a wide range of applications, including:
The High Performance Butterfly Valve is designed for easy maintenance, with accessible components and a modular structure. Its test and inspection standards ensure reliable performance, while the flange dimensions facilitate quick and secure connections, minimizing downtime during maintenance.
The High Performance Butterfly Valve is a versatile solution for various industrial systems, where reliable fluid control is critical. Its ability to handle high pressures and temperatures makes it suitable for the following applications:
In the oil and gas sector, the valve is used in pipelines for crude oil, natural gas, and refined products. Its API 609 compliance ensures compatibility with industry-standard systems, while its robust construction withstands the harsh conditions of offshore and onshore operations.
The valve's corrosion-resistant materials make it ideal for chemical processing plants, where it controls the flow of aggressive chemicals and solvents. Its S.S. 316 components prevent degradation, ensuring long-term reliability in corrosive environments.
Power plants rely on the High Performance Butterfly Valve for regulating steam and water flow in turbines and cooling systems. The valve's ability to handle high temperatures and pressures makes it a critical component in power generation infrastructure.
For water treatment facilities, the valve provides efficient control of water flow, ensuring optimal performance in filtration, distribution, and sewage systems. Its DIN 3202 compliance ensures compatibility with international piping standards.
Hebei Honest Industrial Group Co., Ltd. is a leading manufacturer of industrial valves and related components, dedicated to providing high-quality solutions for global markets. With a focus on innovation and customer satisfaction, the company has established itself as a trusted supplier in the valve industry.
Committed to adhering to international standards, Hebei Honest Industrial Group ensures that all products meet the rigorous requirements of API, ISO, and NIST guidelines. The company's state-of-the-art manufacturing facilities and skilled engineers enable the production of valves that deliver exceptional performance and reliability.
For more information about Hebei Honest Industrial Group Co., Ltd., visit their official website: Hebei Honest Industrial Group.
The High Performance Butterfly Valve is a testament to advanced engineering and precision manufacturing. With its compliance with international standards, durable construction, and versatile applications, it is an essential component in modern industrial systems. Whether in the oil and gas sector, chemical processing, power generation, or water treatment, this valve offers unmatched performance and reliability.
For further details about the High Performance Butterfly Valve or to explore other products from Hebei Honest Industrial Group Co., Ltd., visit the official product page: High Performance Butterfly Valve.